上一页 下一页
最新资讯
就是这个范儿 诺基亚功能机4G版上线

就是这个范儿 诺基亚功能机4G版上线

早在2000年9月左右,作为大名鼎鼎的诺基亚,就推出过一款诺基亚3310,这款无疑是手机世界最为经典的一个代表,但万万没想到该机竟然卖出接近1 26亿台的全球最畅销手机,人气超高,很多人对它,至今仍...

时间:2018-01-31智能手机
开启全手势操作 一加5T解放全面屏

开启全手势操作 一加5T解放全面屏

如何做到“美”这是对手机追求精致设计的一种挑战,最近国内手机品牌也在不断为自家手机推出独特的产品,在国内外最受好评的产品那就是一加手机,它号称“不将就”的手机观念一直被众多消费者感受到与...

时间:2018-01-31新闻中心
红米会不会也学魅蓝魅族  和小米分道扬镳?

红米会不会也学魅蓝魅族 和小米分道扬镳?

魅蓝手机在12月19日起将会启用全新 LOGO 和 "魅蓝青年良品 "的标识,不再使用 MEIZU 的相关商标。小米与红米这两个品牌,其实,我们都知道小米与红米都是小米科技旗下的一个手机品牌。红米手机是...

时间:2018-01-31新闻中心
单手握持才是王道 索尼推出小屏旗舰机

单手握持才是王道 索尼推出小屏旗舰机

要说哪款手机体验最佳,不得不提一下日系手机,尤其是在日本很知名的电子厂商索尼,现在看索尼的任何产品都觉得超美,一个产品只要印上索尼的标志都觉得它在发光!索尼对每一款推出的新品都追求极致,工...

时间:2018-01-31智能手机
vivo旗舰Xplay系列或将回归 参数配置大突破?

vivo旗舰Xplay系列或将回归 参数配置大突破?

在已经结束的CES2018展会上,vivo向全球用户展示了屏幕指纹技术,并于近日率先发布了搭载屏幕指纹技术的产品——vivo X20 Plus屏幕指纹版,成为全球首个推出具备屏幕指纹功能的手机厂商。对于一家国...

时间:2018-01-30智能手机
98K装备精良更好“吃鸡”   神舟超级战神为“吃鸡”而生

98K装备精良更好“吃鸡” 神舟超级战神为“吃鸡”而生

最近小编再次看了,小编本人最喜欢的导演斯皮尔伯格指导的电影《拯救大兵瑞恩》。这是一部关于二战时候美军诺曼底登陆时期和德军交战的战争影片。在多次观影的过程中,除了对战争的反思之外,小编还了...

时间:2018-01-30数码科技
古镇遇雪化身江南   神舟京东自营为诗意点赞优惠送不停

古镇遇雪化身江南 神舟京东自营为诗意点赞优惠送不停

最近几天中国大部分地方都是银装素裹,万籁俱静。在大雪的装扮下,时间仿佛回到了过去。北京变成了北平,南京变成了金陵,西安变成了长安,苏州变成了姑苏城 古镇遇到一场雪则立马回到江南...

时间:2018-01-30数码科技
《蜀山战纪2》今日登陆领衔国产好剧 智能电视动口即播

《蜀山战纪2》今日登陆领衔国产好剧 智能电视动口即播

今天晚22:00,由吴奇隆、雨婷儿、陈哲远、刘一曈、聂子皓等主演的神话新武侠剧集《蜀山战纪2踏火行歌》将于浙江卫视周播剧场高燃开播,实力偶像加新锐演员齐聚中国蓝,携手演绎热血江湖,侠义贺岁!值...

时间:2018-01-30智慧电视
全球最低价格 三星Galaxy系列国行售价曝光

全球最低价格 三星Galaxy系列国行售价曝光

三星每一年都会推出两款新旗舰手机,其一是Galaxy系列,其二就是三星Note系列,一直使用三星手机的用户不用我多说想必都知道,这两款新旗舰系列都是三星在硬件核心上值得称赞的产品,年初我们一样非常...

时间:2018-01-30智能手机
“美什么 应该的” 锤子推出新颜色手机

“美什么 应该的” 锤子推出新颜色手机

对于老罗来说,他打造的锤子品牌对于工艺设计来说非常的精致,在锤子公司成立后推出的第一款T1手机一直没有得到用户的认可,但是锤子吸取教训后推出坚果系列,采用了年轻人的设计风格,从而踏入手机的...

时间:2018-01-30智能手机
新iPhone SE无缘了 苹果可能要放弃更新

新iPhone SE无缘了 苹果可能要放弃更新

现在手机屏幕越来越大,6英寸甚至更大的已经屡见不鲜。但其实手机屏幕也并非越大越好,一方面过大的屏幕会造成体积较大,不便于携带和单手操作,另一方面大屏幕也意味着更大的耗电量,这对电池续航也是...

时间:2018-01-30智能手机
树立vivo高端品牌 Xplay系列概念机曝光

树立vivo高端品牌 Xplay系列概念机曝光

自今年在美国拉斯维加斯举行CES2018上,vivo采用自家独一无二的核心技术,展现在国内外媒体和消费者的视线中,它是首款使用最新屏幕指纹传感技术的厂商。这款样机取消了以往传统的指纹识别按键,取而代...

时间:2018-01-30智能手机
2018年90后结婚季 智能家电来助威

2018年90后结婚季 智能家电来助威

90后纷纷踏入婚姻殿堂,想要开启幸福的新婚生活,一套崭新的家电怎能少。对于90后来说,选择家电要够科技感,所以下面狒狒为大伙精选几款智能家电,比传统家电更加人性化和有科技感,保证让各位90后满...

时间:2018-01-30智慧家电
三星S9系列最新正面照曝光 说好的最美安卓旗舰呢?

三星S9系列最新正面照曝光 说好的最美安卓旗舰呢?

现在,距离2018年世界移动通信大会召开还有不到一个月的时间,同时作为三星2018年上半年的旗舰之作——Galaxy S9系列也已经进入到了正式发布的倒计时当中。即便现在距离三星S9的上一代产品Galaxy S8...

时间:2018-01-29智能手机
英伟达再现奇招   联合新浪推定制版PC主机

英伟达再现奇招 联合新浪推定制版PC主机

如今不仅游戏主机烂大街,游戏厂商定制版的游戏主机也成为很普遍的事。但是,为了生存为了营销,这些厂商招数应不暇接。最近,游戏显卡大厂英伟达选择和国内新浪微博推出了联合定制版PC主机,并且用上...

时间:2018-01-29数码科技
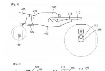
解锁方式繁多  三星再添一款黑科技?

解锁方式繁多 三星再添一款黑科技?

如今的解锁模式,种类繁多,去年苹果的Face ID到今年vivo即将发布的屏下指纹技术,让很多消费者大赞其黑科技。但是在科学研发方面,没有最好只有更好。日前美国专利商标局发布公告称,三星一项名为基...

时间:2018-01-29数码科技
漏洞频发?联想指纹扫描管理软件现安全漏洞

漏洞频发?联想指纹扫描管理软件现安全漏洞

随着科学技术的发展,我们使用的办公设备也越来越方便,越来越现代化。然而,凡事有利就有弊,在人们便捷办公的同时,信息安全便可能成为新的隐患。据外媒报道,联想的指纹扫描管理软件 Fingerprint ...

时间:2018-01-29数码科技